
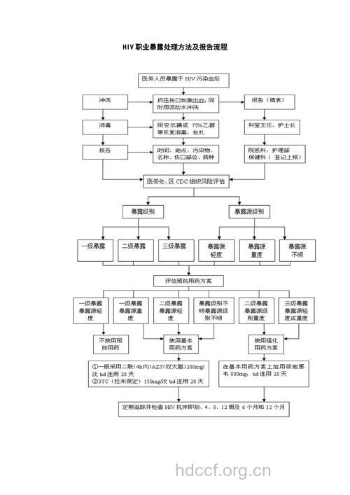
一级暴露:暴露源为体液或者含有体液、血液的医疗器械、物品;暴露类型为暴露源沾染了不完整的皮肤或粘膜,但暴露量小且暴露时间较短。
二级暴露:暴露源为体液或者含有体液、血液的医疗器械、物品;暴露类型为暴露源沾染了不完整的皮肤或粘膜,暴露量大且暴露时间较长;或暴露类型为暴露源刺伤或割伤皮肤,但损伤程度较轻,为表皮肤擦伤或针刺伤(非大型空心针或深部穿刺针)。
三级暴露:暴露源为体液或含有体液、血液的医疗器械、物品;暴露类型为暴露源刺伤或割伤皮肤,但损伤程度较重,为深部伤口或割伤物有明显可视的血液。
(1)用肥皂液和流动的清水清洗被污染局部;
(2)用75%的酒精或0.5%碘伏对伤口局部进行消毒、包扎处理;
(3)污染眼部等粘膜时,应用大量生理盐水反复对粘膜进行冲洗;
(4)存在伤口时,应轻柔挤压伤处,尽可能挤出损伤处的血液,再用肥皂液和流动的清水冲洗伤口。